交換機防雷器的選擇以及安裝接線方式介紹!
交換機是最常用的網絡設備之一,廣泛應用于各行各業。由于其電子集成度高,是比較容易受到雷電浪涌侵害的,尤其是安裝在戶外的交換機風險更高,比如安裝在高速公路路段中的監控交換機等。所以交換機的防雷保護設計是需要重視的。
那么,如何選擇交換機防雷器呢?
根據防雷器選型經驗,中為防雷從以下內容給大家介紹一下交換機防雷器的選型以及安裝接線方式:
1、交換機防雷器的選擇。
交換機一般安裝于機柜、機箱內,浪涌侵入交換機的途徑就是通過設備箱的供電線路以及網絡通信信號線路,
所以從交換機的供電線路和信號傳輸線路進行防雷器選配即可。
①供電線路防雷器選擇:
交換機的供電一般都是220V單相交流供電,而大部分浪涌都是通過電源線路侵入設備的。
所以在交換機所在的防水箱或者機房輸入的電源線上需安裝對應的電源防雷器,限制其火線和零線上的高壓浪涌。
推薦安裝第二級電源防雷器:
型號:ACM-40
主要參數:
最大持續工作電壓Uc:385VAC
標稱放電電流 ln(8/20μs):20kA
最大放電電流Imax(8/20μs):40kA
保護水平Up:1.8kV
組合方式:2P
②信號線路防雷器選擇:
交換機的信號線路要需要安裝網絡信號防雷器,對接入信號線進行差模共模浪涌防護,一般安裝防雷器后可以耐受GB/T17626.5電磁兼容測試標準的共模4kv差模2kv的防護級別了。
注意接入交換機的光纖線路是不需要安裝防雷器的,關于光纖防雷可以點擊查看之前的文章:光纖傳輸怎么加防雷器?
網絡信號防雷器的選擇可以根據交換機的網絡端口數量選型,一般有4路、8路、16路、24路可選。
名稱:網絡信號防雷器
型號:ZVS-RJ45
主要參數:
標稱工作電壓Un:5V
沖擊耐受能力:5kV&2.5kA(1.2/50μs,&8/20μs)
總放電電流:10kA
傳輸速率:100M
插入損耗:≤0.5dB
接口形式:RJ45
保護路數:1路、4路、8路、16路、24路可選
2、交換機防雷器安裝接線方式。
①電源防雷器安裝接線:
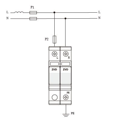
交換機電源防雷器安裝在機箱內電源線輸入的總開關輸出端,從空氣開關的輸出側引線接入電源防雷器的L和N端口,也可以采用V型接線法,再從防雷器PE端引地線接到機箱接地匯流排即可。
接入防雷器的火線和零線推薦線徑為≥2.5平方,地線推薦≥6平方。
接線圖如下圖所示:
F1代表的就是交換機供電線路上的主開關,F2為防雷器后備保護器熔斷器。關于F2的選擇可以點擊查看:http://m.021canyin.cn/knowledge/1211220.html
②信號防雷器安裝接線:
交換機網絡信號防雷器是串聯接線的,網線先經過防雷器在接入交換機。
這里需要注意的是:信號防雷器是分輸入和輸出的,輸出(OUT)要對著交換機。
安裝接線圖如下:
總結:以上就是關于交換機防雷器的選擇以及安裝接線方式的介紹,通過以上內容,相信大家對交換機怎么選防雷器已經比較清楚了。如果還有疑問可以聯系中為防雷公司進行咨詢。
ZVD廣東中為防雷技術有限公司,轉載需授權!http://m.021canyin.cn/knowledge/0320379.html
廣東中為智能防雷技術有限公司
